Apple’s ambitions for a next-generation iPad with a rollable display have resurfaced, thanks to a newly revealed patent application. While industry rumors recently suggested Apple’s foldable iPad project is paused due to technical and market uncertainties, this patent shows the company is still actively exploring radical new form factors for its tablets.
What the Rollable iPad Patent Reveals
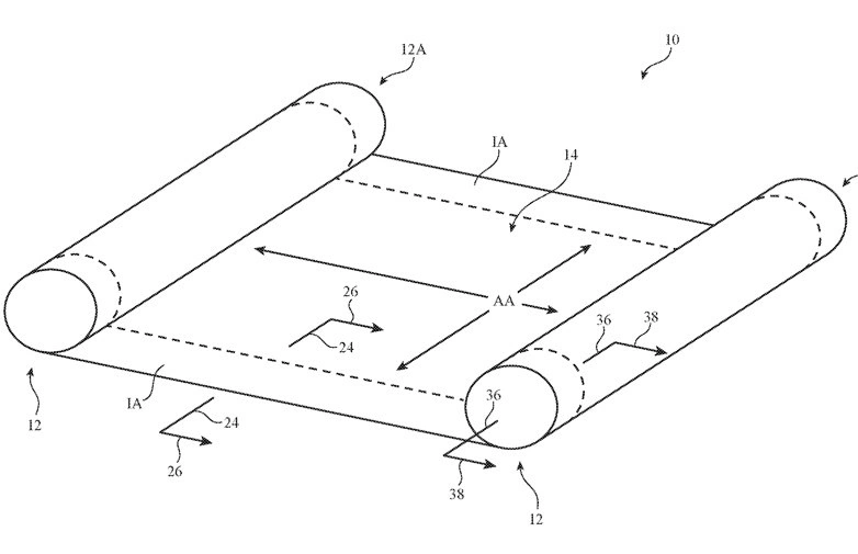
Unlike hinge-based foldables, Apple’s patent describes a device with a flexible display that rolls in and out of a rigid housing—much like a scroll. This design aims to deliver a large, seamless screen that can retract into a compact form for portability, sidestepping the crease issues that have affected early foldable devices.

Key details from the patent include:
- Display Mechanism: The screen is stored on rollers inside the housing. When needed, it unrolls and is kept taut by “deployment rollers” and “elongated bistable support members,” ensuring a smooth, usable surface at any stage of extension.
- Always-On Windows: The patent also mentions transparent housing windows, allowing parts of the display to remain visible even when rolled up, enabling always-on notifications or information.
- Multiple Form Factors: Apple envisions this technology for not just tablets, but also smartphones, smartwatches, and even wearables like glasses or pendants.
- Durability Focus: The latest revision highlights Apple’s ongoing work to improve material strength, reduce wear, and ensure a compact, reliable deployment mechanism.
Why a Rollable, Not Foldable, iPad?
The move toward rollable displays reflects Apple’s search for a solution that offers expansive screen real estate without the drawbacks of folding hinges—namely, the visible crease and mechanical complexity. Rollable screens could offer a more elegant and durable alternative for future iPads or other Apple devices.
Is a Rollable iPad Coming Soon?
While this is Apple’s sixth revision of the rollable display patent since 2017, and the company continues to refine the concept, it’s important to note that patents do not guarantee commercial products. However, the renewed activity suggests Apple is committed to pushing the boundaries of display technology, even as competitors like Samsung and Motorola showcase their own rollable prototypes.
For now, the resurfaced patent keeps the dream of a rollable iPad alive, hinting that Apple’s future tablets could one day unfurl their screens—literally—from compact shells, offering users the best of both portability and productivity.

